Hong Yuan Valve Industry Index Page Hong Yuan Valves Industry CO., LTD
| Butterfly Valve | Wafer Check Valve | Balance valve | Gate Valve | Globe Valve | Ball Valve | Y Strainer | Flange | Pipe fitting | About us |

Stainless Steel Forged Gate Valve

Specification of Gate Valve
Working Pressure :200 PSI WOG
Temperature Range: -20--- 232C
Suitable Medium: Wafer,oil,air and some corrosive liquid
Threaded kinds: NPT. BSPT. BSP.DIN259/2999

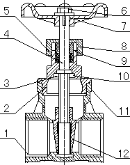
Main part code and materials list below                    Dimension of stainless steel forged gate valve list below

Main Part and Materials

Item Designation Material
1 Body CF8M
2 Bonnet CF8M
3 Stop Ring 304
4 Stem 316
5 Packing R-PTFE
6 Hand wheel Nut 304
7 Hand wheel Aluminum
8 Packing Nut 316
9 Gland 304
10 Lock Nut 316
11 Gasket R-PTFE
12 Disc CF8M

Dimension of Gate Valve

Size 1/2" 3/4" 1" 1 1/4" 1 1/2" 2"
d 15 20 25 32 40 50
L 55 60 66 76 86 96
H 92 99 113 128 147 168
D1 70 70 80 80 90 100
CV Factor 17.6 32 54 97 135 230

กก

Gate Valve

About Gate Valve
Cast Iron Flanged Gate Valve
Brass Forged Gate Valve
Brass Flanged Gate Valve
Stainless Steel Forged Gate Valve
Stainless Steel Flanged Gate Valve

กก

กก

Photogragh of stainless steel forged gate valve
Butterfly Valve Wafer check valve Balance valve Gate Valve Globe Valve Ball Valve Y Strainer Flange Pipe fitting

This page describe some infomation of stainless steel forged gate valve Copyright © Tang Shan Hong Yuan valve industry Co. LTD. All Rights Reserved
Contact info@hyvp.comwith questions or comments.
Websites: http://www.hyvp.com