Butterfly Valve Actuator
Pneumatic Actuator or Electric Actuator from famous Actuator Control Manufacturer are available on request.
|
Dimensions/Weight of Ten-Position Lever |
|

|
Size |
A |
B |
R |
Weight |
| 50(2")-150(6") |
266.7 |
32 |
52 |
0.9kg |
| 200(8")-300(12") |
359 |
50 |
75.2 |
2.3kg |
|
Dimensions of Worm Gear ( Single & Double-stage ) |
|
 |
| Size |
A |
B |
R |
Weight |
| 50(2")-150(6") |
266.7 |
32 |
52 |
0.9kg |
| 200(8")-300(12") |
359 |
50 |
75.2 |
2.3kg |
|
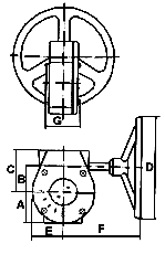
| Model |
Size |
A |
B |
C |
E |
F |
G |
D |
Weight |
| 3D-20 |
50-150 |
52 |
45 |
74 |
52 |
152.5 |
75 |
150 |
5.2kg |
| 3D-50 |
200-250 |
75 |
62.75 |
101 |
75 |
250 |
86 |
225 |
12kg |
| 3D-120 |
300-350 |
81 |
80 |
118 |
81 |
227 |
83 |
300 |
15kg |
|
Overall Dimensions & Weight of Double-stage wormgear Actuator: |
|
 |
| Model |
Size mm |
A |
B |
C |
D |
E |
F |
H |
L |
Φ |
Weight |
| 3D-30/250 |
400-500 |
56.5 |
178.5 |
121 |
115 |
104 |
174 |
125.5 |
66 |
300 |
56.9 |
| 3D-30/400 |
600 |
56.5 |
197.5 |
142 |
144 |
130 |
174 |
145.5 |
66 |
300 |
72.37 |
| 3D-60/800 |
700-800 |
67 |
244 |
183 |
189 |
162 |
165 |
157 |
88 |
400 |
124 |
| 3D-120/1500 |
900-1000 |
76 |
270 |
215 |
220 |
196 |
215 |
235 |
126 |
300 |
158 |
|
|
Butterfly Valve
Butterfly Valve Overview
BV1000W
BV1000L
BV1000S
BV2000W
BV2000S
BV2000L
BV3000W
BV3000L
BV4000
Hard Sealed Type
Flanged Type
Grooved
End Butterfly Valve
Antiseptic Butterfly Valve
Material of parts
Torque
Definition of CV Value
Specification
Actuator
Order Code
Inquiry Online
Mounting Flange to ISO5211 |