Hong Yuan Valve Industry Index Page Hong Yuan Valves Industry CO., LTD
| Butterfly Valve | Wafer Check Valve | Balance valve | Gate Valve | Globe Valve | Ball Valve | Y Strainer | Flange | Pipe fitting | About us |

Butterfly valve BV4000

BV4000W is Wafer Butterfly valve and we call it industry valve. The size is for 2"(DN50) to 14" ( DN350). It is with soft/back-up seat and double D or TD type disc without pin. Valve can be mounted with handles (2" to 12"),Manual Gear Operators (2" to 14",)and electric or pneumatic actuators (2" to 14")
Face to face dimension are available in GB 12238 BS5155 API609, MSS SP-76,DIN 3202-K1 (ISO 5762 T5).
Flange Drilling are GB9112-88,DIN2501,BS4504,ISO2084,ISO2531,BS10-E,ANSI125/150,ASA125/150,AS2129 Table D/E.
Valve tested: API598
Safe working pressure: PN6,10,16.

Model: Butterfly Valve Wafer Type (fig: BV4000W)

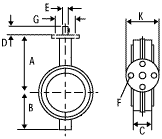
construction dimension of butterfly valve BV4000 series wafer butterfly valve BV4000W

Butterfly Valve Dimensions and Weight

Size A B C D E F G K
50 100 80 43 32 12.6 6.7 50 65
65 113 89 46 32 12.6 6.7 50 65
80 124 95 46 32 12.6 6.7 50 65
100 152 114 52 32 15.77 6.7 70 90
125 152 127 56 32 18.92 10.3 70 90
150 165 139 56 32 18.92 10.3 70 90
200 205 75 60 40 22.10 10.3 102 125
250 253 203 68 40 28.45 14.3 102 125
300                
350                

Butterfly Valve

Butterfly Valve Overview
BV1000W
BV1000L
BV1000S
BV2000W
BV2000S
BV2000L
BV3000W
BV3000L
BV4000
Hard Sealed Type
Flanged Type
Grooved End Butterfly Valve
Antiseptic Butterfly Valve

Material of parts
Torque
Definition of CV Value
Specification
Actuator

Order Code
Inquiry Online

butterfly valve BV4000W

BV4143
Cast Iron Body
CF8 Disc
EPDM Seat
Butterfly Valve Wafer check valve Balance valve Gate Valve Globe Valve Ball Valve Y Strainer Flange Pipe fitting

we are selling  our products to the world Copyright © Tang Shan Hong Yuan valve industry Co. LTD. All Rights Reserved
Contact info@hyvp.comwith questions or comments.
Websites: http://www.hyvp.com