Hong Yuan Valve Industry Index Page Hong Yuan Valves Industry CO., LTD
| Butterfly Valve | Wafer Check Valve | Balance valve | Gate Valve | Globe Valve | Ball Valve | Y Strainer | Flange | Pipe fitting | About us |

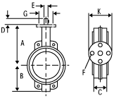
Butterfly Valve BV1000W Dimensions and Weight

BV1000W is Wafer Butterfly valve. It can be manufactured as with pin butterfly valves or without pin butterfly valves. The size is for 2"(DN50) to 40" (DN1000). It is with back-up seat and double D type disc. The connection between the discs and stems is of three types, square connected, key connected, spline connected. Valve body features four alignment holes. Valve with handles (2" to 12"), Manual Gear Operators (2" to 40",) and electric or pneumatic actuators (2" to 40") .
Face to face dimensions are available in GB 12238 BS5155 API609, MSS SP-76, DIN 3202-K1 (ISO 5762 T5).
Flange drilling according to:
GB9112-88,DIN2501,BS4504,ISO2084,ISO2531,BS10-E,ANSI125/150,ASA125/150,AS2129 Table D/E. Valve tested: API598 Safe working pressure: PN6,10,16.

Fig: Butterfly Wafer Valve BV1000W

construction dimension of butterfly valve BV1000 series wafer butterfly valve BV1000W
Size A B C D E F G K
50 161 80 43 32 12.6 6.7 50 65
65 175 89 46 32 12.6 6.7 50 65
80 181 95 46 32 12.6 6.7 50 65
100 200 114 52 32 15.77 10.3 70 90
125 213 127 56 32 18.92 10.3 70 90
150 226 139 56 32 18.92 10.3 70 90
200 260 175 60 40 22.10 14.3 102 125
250 292 203 68 40 28.45 14.3 102 125
300 337 242 78 40 31.6 14.3 102 125
350 368 267 78 40 31.6 14.3 125 150
400 400 298 102 51.2 33.15 20.6 140 175
450 422 318 114 51.2 38.00 20.6 140 175
500 480 249 127 64.2 41.15 20.6 140 175
600 562 440 154 70.2 50.65 23.2 165 210
700 624 520 163 66 55.00 8-18 254 300
800 672 591 188 66 55.00 8-18 254 300

NOTE:
Dimensions of "M","L1"."L2","D1" for the following Standard available :GB9112-88,DIN2501,BS4504,ISO2084
ISO2531,BS10-E,ANSI15/150, ASA125/150.AS2129 Table

Weight List (kg)

Size Wafer Size Wafer
50(2") 2.5 300(12") 32.5
65(2.5") 3.2 350(14") 41.3
80(3") 3.6 400(16") 61
100(4") 4.9 450(18") 87
125(5") 7 500(20") 98
150(6") 7.8 600(24") 133
200(8") 13.2 700(28") 187
250(10") 19.2 800(32") 387

กก

Butterfly Valve

Butterfly Valve Overview
BV1000W
BV1000L
BV1000S
BV2000W
BV2000S
BV2000L
BV3000W
BV3000L
BV4000
Hard Sealed Type
Flanged Type
Grooved End Butterfly Valve
Antiseptic Butterfly Valve

Material of parts
Torque
Definition of CV Value
Specification
Actuator

Order Code
Inquiry Online


wafer type butterfly valve BV1000W

 Fig :BV1155W
Cast Iron Body 
CF8M  Disc
 NBR Seat

กก

กก

Butterfly Valve Wafer check valve Balance valve Gate Valve Globe Valve Ball Valve Y Strainer Flange Pipe fitting

we are selling  our products to the world Copyright © Tang Shan Hong Yuan valve industry Co. LTD. All Rights Reserved
Contact info@hyvp.comwith questions or comments.
Websites: http://www.hyvp.com