Hong Yuan Valve Industry Index Page Hong Yuan Valves Industry CO., LTD
| Butterfly Valve | Wafer Check Valve | Balance valve | Gate Valve | Globe Valve | Ball Valve | Y Strainer | Flange | Pipe fitting | About us |

Butterfly valve BV2000L

BV2000L is Lug Butterfly valve. The size is for 2"(DN50) to 14" ( DN350). It is with soft seat and double D type disc. Valve body features four alignment holes at least. Valve can be mounted with handles (2" to 12"),Manual Gear Operators (2" to 14",)and electric or pneumatic actuators (2" to 14")
Face to face dimension are available in GB 12238 BS5155 API609, MSS SP-76,DIN 3202-K1 (ISO 5762 T5).
Flange Drilling are GB9112-88,DIN2501,BS4504,ISO2084,ISO2531,BS10-E,ANSI125/150,ASA125/150,AS2129 Table D/E.
Valve tested: API598
Safe working pressure: PN6,10,16.

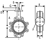
Fig: Butterfly Wafer Valve BV2000L

construction dimension of butterfly valve BV2000 series wafer butterfly valve BV2000L

Size A B C D E F G K
50 143 60 43 32 12.6 6.7 50 65
65 155 68 46 32 12.6 6.7 50 65
80 162 73 46 32 12.6 6.7 50 65
100 181 102 52 32 15.77 10.3 70 90
125 197 122 56 32 18.92 10.3 70 90
150 210 131 56 32 18.92 10.3 70 90
200 240 160 60 40 22.10 14.3 102 125
250 286 188 68 40 28.45 14.3 102 125
300 309 220 78 40 31.60 14.3 102 125
350                

NOTE:

Dimensions of "M","L1"."L2","D1" for the following Standard available :GB9112-88,DIN2501,BS4504,ISO2084,ISO2531,BS10-E,ANSI15/150, ASA125/150.AS2129 Table

Butterfly Valve

Butterfly Valve Overview
BV1000W
BV1000L
BV1000S
BV2000W
BV2000S
BV2000L
BV3000W
BV3000L
BV4000
Hard Sealed Type
Flanged Type
Grooved End Butterfly Valve
Antiseptic Butterfly Valve

Material of parts
Torque
Definition of CV Value
Specification
Actuator

Order Code
Inquiry Online


lug butterflyf valve BV2000L

Fig: BV2215L
Ductile Iron Body
DI  Disc
NBR Seat

Butterfly Valve Wafer check valve Balance valve Gate Valve Globe Valve Ball Valve Y Strainer Flange Pipe fitting

we are selling  our products to the world Copyright © Tang Shan Hong Yuan valve industry Co. LTD. All Rights Reserved
Contact info@hyvp.comwith questions or comments.
Websites: http://www.hyvp.com