By-Pass Type Dual Plates Wafer Check Valve
This is our Wafer Check Valve CW5000 Series. It can be made of Cast Iron
Body or Cast Steel Body.
1.Valve Design to API 594
2.Valve Test to API 598,BS6755
3.Face to Face :EN558-1 Basic Series 16 (Wafer Long), GB 12221-89
4.Safe Pressure: PN10, PN16

| Working Pressure |
Max, 10kg/cm |
| Applicable Temperature |
Max,80 (Option-Max,120) |
| Applicable Fluid |
Water, Oil, (Acid-Total Option) |
| Min, Operating Pressure |
0.05----0.1kg/cm |
| Hydraulic Test |
20kg/cm----2min |
| 1 |
Body |
Cast Iron |
| 2 |
Twin Disc |
Stainless Steel |
| 3 |
Disc Rubber |
NBR,EPDM |
| 4 |
Spring |
Stainless Steel |
| 5 |
Hinge Pin |
Stainless Steel |
| 6 |
Stop Pin |
Stainless Steel |
| 7 |
Bypass Seat |
Brass |
| 8 |
Bypass Body |
Brass |
| 9 |
Handle |
Cast Iron |
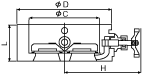
Dimensions of CW5000(unit:
mm)
| Mode |
Cast Iron Body |
Cast Steel Body |
| Size |
L |
D |
H |
L |
D |
H |
| 40 |
54 |
85 |
100 |
54 |
85 |
130 |
| 50 |
59 |
100 |
100 |
54 |
100 |
130 |
| 65 |
64 |
120 |
120 |
65 |
120 |
150 |
| 80 |
69 |
130 |
120 |
70 |
135 |
160 |
| 100 |
70 |
155 |
140 |
70 |
160 |
160 |
| 125 |
71 |
185 |
140 |
71 |
185 |
165 |
| 150 |
85 |
215 |
170 |
85 |
215 |
180 |
| 200 |
100 |
265 |
190 |
100 |
274 |
195 |
| 250 |
120 |
325 |
220 |
120 |
345 |
230 |
| 300 |
140 |
370 |
255 |
140 |
395 |
265 |
กก
|
Wafer Check Valve
About Check Valve
Specification
Order Code
Order On Line
CW1000
CW2000
CW3000
CW4000
CW5000
CW6000
Swing Check Valve
Overall and Dimensions
Lift Check Valve
Specification
Valve
Dimensions
Smolensky Check Valve
smolensky check valve
Valve
Dimensions
กก
|