Hong Yuan Valve Industry Index Page Hong Yuan Valves Industry CO., LTD
| Butterfly Valve | Wafer Check Valve | Balance valve | Gate Valve | Globe Valve | Ball Valve | Y Strainer | Flange | Pipe fitting | About us |

Thin Wafer Swing Check Valve (Single Plate Wafer check valve)

MODEL: Wafer Check Valve------CW6000 Series
Wafer Design with or without spring closing
Valve design to ANSI125 ---- ANSI 600 design
Extremely low crack opening pressure
Extremely low pressure drop
Efficient flow characteristic
Short overall length wafer design
Centering achieved by means of body outside diameter
Standard Elastomer Seating or metal and metal seating provided.
Single plate wafer check valve with spring loaded or non spring loaded available.
thin wafer swing check valve CW6000
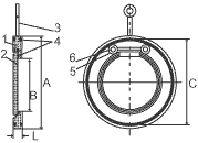
1.Body 2.Disc and Shaft 3.Eye Bolt
4.O-Ring 5.Bolt 6.Washer

Material of Parts

Body Stainless Steel
Disc Stainless Steel
O-Ring Viton
Bolt, Washer SS316
Eye Bolt SS304

Dimensions of CW6000(unit: mm)

Size B        A            L C Weight
CL.125 CL.150 CL300 CL600 CL125 CL150 CL300 CL600
DN40 23 87 87 95 95 19 19 19 19 76.5  
DN50 33 104 104 111 111 19 19 19 19 93  
DN65 41 124 124 130 130 19 19 19 19 113.8  
DN80 54 136 136 149 149 19 19 19 19 128  
DN100 71 174 174 180 193 19 19 19 22 144.5  
DN125 92 197 197             173.5  
DN150 112 222 222 250 266 19 19 22 28 197.4  
DN200 155 279 279 307 620 28 28 28 38 245.5  
DN250 201 339 339 362 400 28 28 38 57 306.5  
DN300 240 409 409 422 457 38 38 51 60 357.5  
DN350 270 450 450 485 192 44 44 51 67 408.5  
DN400 311 514 514 539 565 51 51 51 73 456.5  
DN500 360 549 549 696 612 60 60 76 83 498.5  
DN600 410 606 606 654 582 64 64 83 92 550.5  

Wafer Check Valve

About Check Valve
Specification
Order Code
Order On Line
CW1000
CW2000
CW3000
CW4000
CW5000
CW6000

Swing Check Valve

Overall and Dimensions

Lift Check Valve

Specification
Valve Dimensions

Smolensky Check Valve

smolensky check valve
Valve Dimensions

overall thin wafer swing check valve CW6000

Butterfly Valve Wafer check valve Balance valve Gate Valve Globe Valve Ball Valve Y Strainer Flange Pipe fitting

we are selling  our products to the world Copyright © Tang Shan Hong Yuan valve industry Co. LTD. All Rights Reserved
Contact info@hyvp.comwith questions or comments.
Websites: http://www.hyvp.com